'shafa.ua', }); ga('require', 'GTM-554H742'); ga('send', 'pageview');
Все категории

Многоразовые w-re термопары для металлических расплавов

175 грн -12% 155 грн
Описание

Виготовляємо на замовлення термоелектричні змінні перетворювачі (термопари) типу ТЗП-Ш. Призначені для періодичних короткочасних вимірювань температури розплавів металів у металургічних печах та агрегатах методом занурювання. Конструкція захищена патентами України №95334, МПК G01K 13/12, G01K 7/02 (від 25.12.2014), №14740А, МПК G01K 13/00, G01K 7/02 (від 30.06.1997).
Принцип роботи ґрунтується на вимірюванні термо-ЕРС, що генерується робочим контактом термоелектодів (при зануренні термоелектричного перетворювача в розплав).
За виміряною термо-ЕРС, з використанням заданої номінальної статичної характеристики (НСХ), вторинним вимірювальним перетворювачем (контролером) визначається температура розплаву.
Технічні характеристики ТЗП-Ш:
1. Типи НСХ термоелектричних перетворювачів: ВР(А)-1, ВР(А)-2.
2. Діапазон вимірюваних температур, град. С: 600-1700.
3. Допустиме відхилення НСХ, %: 0,28-0,53.
4. Кількість занурень (у разі дотримання вимог Інструкції з експлуатації, зокрема, без шлаку на дзеркалі розплаву): ≤20.
5. Глибина занурення, мм: 70-75.
6. Матеріал захисної арматури робочого контакту: кварц.
7. Масса, кг: 0,06.
8. Час вимірювання температури, секунд:
- у комплекті з нашим термометром ТПК-05: 7-10;
— у комплекті з будь-яким іншим вторинним вимірювальним приладом: 22-30.
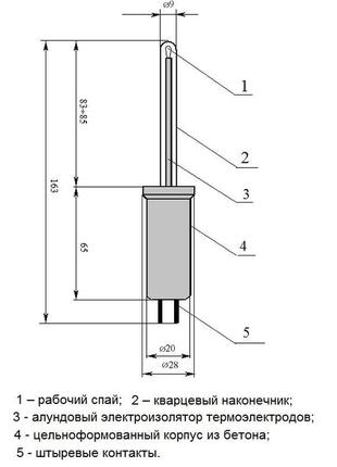
Конструктивне виконання та габарити ТЗП-Ш наведені на фото 3.
Переваги.
Завдяки запатентованій конструкції (див. фото 3) та матеріалам, істотно знижено похибки та час вимірювань температури, часові інтервали між вимірюваннями, а також підвищено (до 8-15) кількість вимірювань одним ТЗП-Ш. Звертаю увагу, що така кількість занурень досягається для очищеного від шлаку розплаву!
ТЗП-Ш розрахований на роботу з нашим термометром ТПК-05, з яким він уніфікований за конструкцією термороз'єму.
ДЛЯ ТИХ, ХТО ЗАЦІКАВЛЕНИЙ У ВИКОРИСТАННІ ТЗП-Ш, АЛЕ НЕ МАЄ МОЖЛИВОСТІ/БАЖАННЯ КУПУВАТИ ТЕРМОМЕТР ТПК-05, МИ НАДАЄМО (ДЛЯ САМОСТІЙНОГО ВИГОТОВЛЕННЯ) КРЕСЛЕННЯ ТЕРМОРОЗ'ЄМУ Й ТЕРМОЗОНДУ ДЛЯ РОБОТИ З ТЗП-Ш. Виготовивши їх, Ви отримуєте можливість вимірювати температуру розплаву за допомогою будь-якого вторинного вимрювального приладу (контролеру) для термопар, який має запрограмовану НСХ типу ВР (А)-1,2. Також зараз в наявності 2 плати контролера для термопар (фото 4)!
Маємо більш ніж 25-річний серійного виготовлення ТЗП-Ш, кількість виготовленої продукції з 1998 р. перевищує 30000 шт.
Ціна вказана за 1 шт.
Мінімальна партія замовлення — 10 шт.
Дякую за увагу до оголошення!